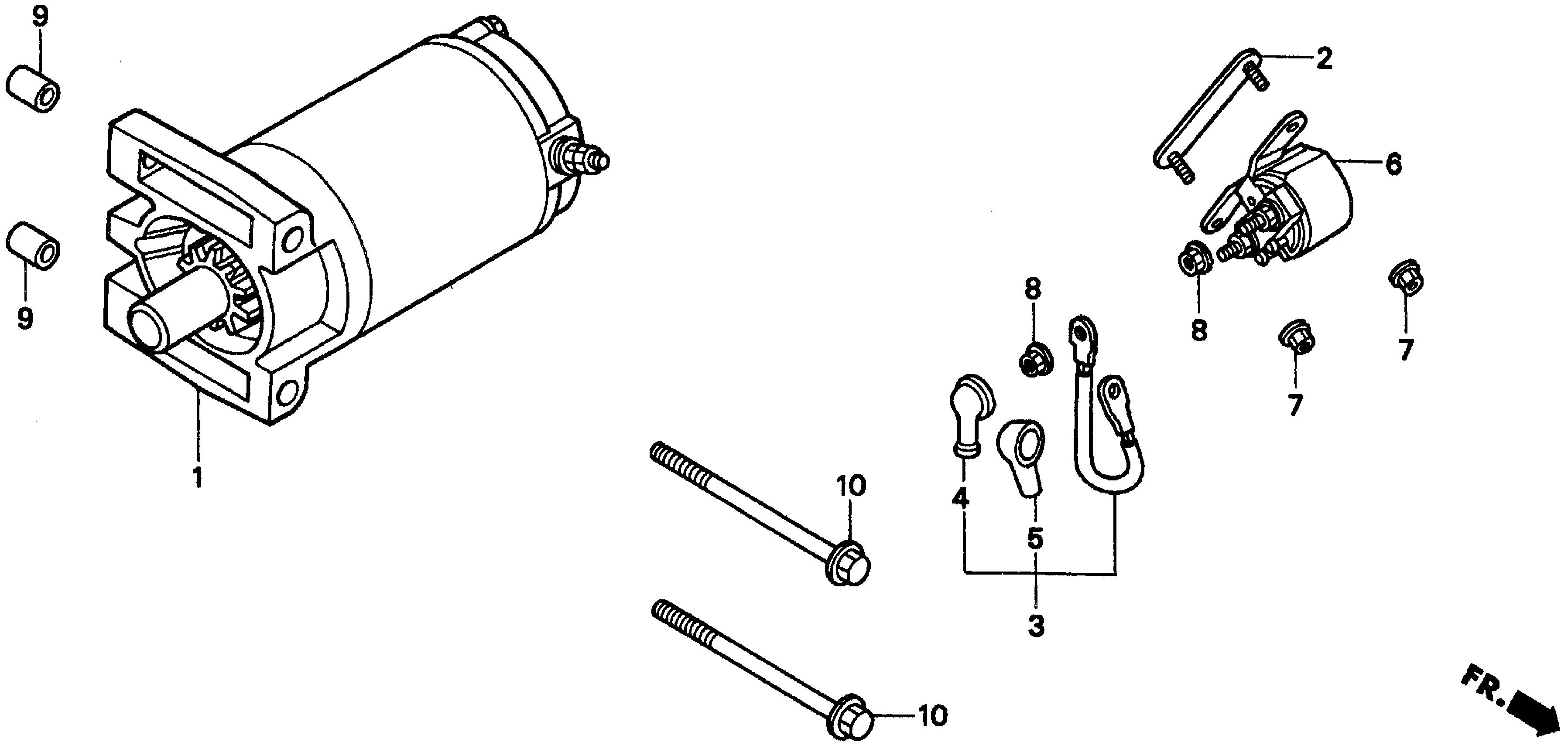
Generators EB EB11000 EB11000 A EZCQ-3000001-9999999 STARTER MOTOR - Manchester Honda

Ref No
Part Number
Description
Serial Range
Qty
Price

Ref No
1
Part Number
31200-ZJ1-004
Description
STARTER MOTOR ASSY. (NOT AVAILABLE)
Serial Range
1000001 - 9999999

Ref No
2
Part Number
31243-ZJ1-800
Description
BRACKET, STARTER MAGNETIC SETTING
Serial Range
1000001 - 9999999
Qty
Price
$17.20

Ref No
3
Part Number
32402-ZJ1-810
Description
WIRE, MAGNETIC SWITCH (NOT AVAILABLE)
Serial Range
1000001 - 9999999

Ref No
4
Part Number
32411-KB9-930
Description
COVER A, MAGNETIC SWITCH
Serial Range
1000001 - 9999999

Ref No
5
Part Number
32411-402-000
Description
COVER, STARTER MOTOR TERMINAL
Serial Range
1000001 - 9999999
Qty
Price
$4.80

Ref No
6
Part Number
35850-ZJ1-811
Description
SWITCH ASSY., STARTER MAGNETIC
Serial Range
1000001 - 9999999
Qty
Price
$104.04

Ref No
7
Part Number
94050-06000
Description
NUT, FLANGE (6MM)
Serial Range
1000001 - 9999999
Qty
Price
$0.90

Ref No
8
Part Number
94070-06080
Description
NUT-WASHER (6MM)
Serial Range
1000001 - 9999999
Qty
Price
$1.96

Ref No
9
Part Number
94301-10120
Description
PIN, DOWEL (10X12)
Serial Range
1000001 - 9999999
Qty
Price
$3.30

Ref No
10
Part Number
95701-08110-00
Description
BOLT, FLANGE (8X110)
Serial Range
1000001 - 9999999
Qty
Price
$3.87