Description RING SET, PISTON (0.25) (TEIKOKU) (NOT AVAILABLE)
Serial Range 1000001 - 9999999
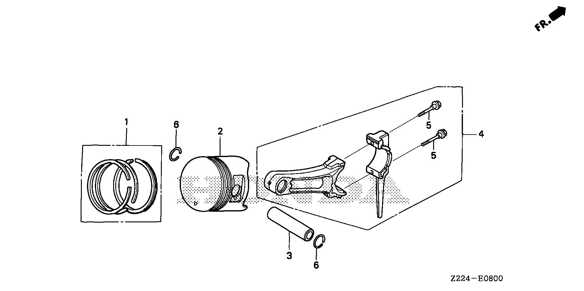
Ref No 1
Part Number 13012-Z5K-004
Description RING SET, PISTON (0.50) (TEIKOKU) (NOT AVAILABLE)
Serial Range 1000001 - 9999999
Ref No 1
Part Number 13013-Z5K-004
Description RING SET, PISTON (0.75) (TEIKOKU) (NOT AVAILABLE)
Serial Range 1000001 - 9999999
Ref No 2
Part Number 13101-Z1D-900
Description PISTON (STD)
Serial Range 4869815 - 9999999
Qty
Price $17.93
Ref No 2
Part Number 13102-Z5K-000
Description PISTON (0.25) (NOT AVAILABLE)
Serial Range 1000001 - 9999999
Ref No 2
Part Number 13103-Z5K-000
Description PISTON (0.50) (NOT AVAILABLE)
Serial Range 1000001 - 9999999
Ref No 2
Part Number 13104-Z5K-000
Description PISTON (0.75) (NOT AVAILABLE)
Serial Range 1000001 - 9999999
Ref No 3
Part Number 13111-Z5K-000
Description PIN, PISTON
Serial Range 1000001 - 9999999
Qty
Price $5.19
Ref No 4
Part Number 13200-Z1D-305
Description ROD ASSY., CONNECTING (0.25 LOWER SIZE) (NOT AVAILABLE)
Serial Range 1000001 - 9999999
Ref No 4
Part Number 13200-Z1D-900
Description ROD ASSY., CONNECTING (STD)
Serial Range 1000001 - 9999999
Qty
Price $31.90
Ref No 5
Part Number 90001-ZE8-000
Description BOLT, CONNECTING ROD
Serial Range 1000001 - 9999999
Qty
Price $4.77
Ref No 6
Part Number 90551-ZE1-000
Description CLIP, PISTON PIN (18MM)
Serial Range 1000001 - 9999999
Qty
Price $1.50
Item added to your cart
California Prop 65 Information
Internal Combustion Engine Products:
WARNING:
This product can expose you to chemicals including soots, tars, and mineral oils, which are known to the State of California to cause cancer,
and carbon monoxide, which is known to the State of California to cause birth defects or other reproductive harm. For more information go to
www.P65Warnings.ca.gov.
Miimo Robotic Mower
WARNING:
This product can expose you to chemicals including lead and lead compounds, which are known to the State of California to cause cancer and birth defects or other reproductive harm.
For more information go to
www.P65Warnings.ca.gov.