Generators EM EM3500 EM3500SXK1 A/C EA6-1150001-1999999 CRANKCASE COVER - Manchester Honda

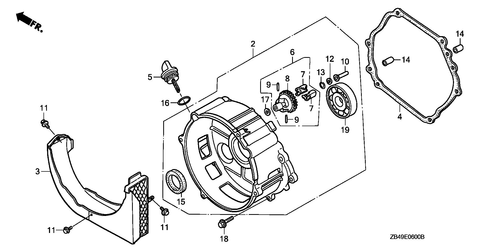
Ref No
Part Number
Description
Serial Range
Qty
Price

Ref No
2
Part Number
11300-Z1D-700
Description
COVER ASSY., CRANKCASE
Serial Range
1000001 - 9999999
Qty
Price
$129.00

Ref No
3
Part Number
11315-ZE2-700
Description
COVER, DUCT
Serial Range
1000001 - 9999999
Qty
Price
$74.32

Ref No
4
Part Number
11381-ZE2-801
Description
GASKET, CASE COVER
Serial Range
4045101 - 9999999
Qty
Price
$11.82

Ref No
5
Part Number
15620-ZE2-700
Description
CAP, OIL FILLER
Serial Range
1000001 - 9999999
Qty
Price
$8.87

Ref No
6
Part Number
16510-ZE2-000
Description
GOVERNOR ASSY.
Serial Range
1000001 - 9999999
Qty
Price
$28.08

Ref No
7
Part Number
16511-ZE2-000
Description
WEIGHT, GOVERNOR
Serial Range
1000001 - 9999999
Qty
Price
$4.20

Ref No
8
Part Number
16512-ZE2-000
Description
HOLDER, GOVERNOR WEIGHT
Serial Range
1000001 - 9999999
Qty
Price
$19.66

Ref No
9
Part Number
16513-ZE2-000
Description
PIN, GOVERNOR WEIGHT
Serial Range
1000001 - 9999999
Qty
Price
$2.38

Ref No
10
Part Number
16531-Z0A-000
Description
SLIDER, GOVERNOR
Serial Range
1000001 - 9999999
Qty
Price
$3.98

Ref No
11
Part Number
90019-883-000
Description
BOLT, FLANGE (5X10) (CT200)
Serial Range
1000001 - 9999999
Qty
Price
$3.32

Ref No
13
Part Number
90602-ZE1-000
Description
CLIP, GOVERNOR HOLDER
Serial Range
1000001 - 9999999
Qty
Price
$1.85

Ref No
14
Part Number
90701-HC4-000
Description
PIN, DOWEL (8X12)
Serial Range
1000001 - 9999999
Qty
Price
$3.98

Ref No
15
Part Number
91201-890-003
Description
OIL SEAL (30X46X8)
Serial Range
1000001 - 9999999
Qty
Price
$11.87

Ref No
16
Part Number
91301-805-000
Description
O-RING (26X2.7)
Serial Range
1000001 - 9999999
Qty
Price
$5.35

Ref No
17
Part Number
94101-06800
Description
WASHER, PLAIN (6MM)
Serial Range
1000001 - 9999999
Qty
Price
$0.88

Ref No
18
Part Number
95701-08035-00
Description
BOLT, FLANGE (8X35)
Serial Range
1000001 - 9999999
Qty
Price
$3.08

Ref No
19
Part Number
96100-62060-00
Description
BEARING, RADIAL BALL (6206)
Serial Range
1000001 - 9999999
Qty
Price
$31.98